- | 8:00 am
A rolling iPhone? Here’s a look at the patent Apple filed
Apple has filed a patent for a phone that rolls up like a scroll. Here’s what it would look like.
Sure, folding phones are cool-looking, but how about a rolling phone?
While Apple has yet to follow in the footsteps of Samsung and Google in making a folding phone, it recently did file a patent for something a little different: a phone that rolls up like a scroll.
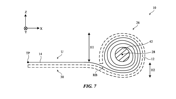
The patent was filed on October 11, 2022, but was published yesterday. It specifically covers a rollable display that “may be moved between an unrolled state in which the display is planar and a rolled state in which a rollable portion of the display is rolled for storage.”

According to the patent, the display would have a transparent protective layer that “may” contain glass and would be thinned to help facilitate the rolling of the display. The display also “may be configured to apply compressive stress to the outwardly facing surface of the glass area when the display is rolled up,” a move that would help prevent damage to the display when it is being rolled. Apple did not immediately respond to Fast Company’s request for comment about the patent.
Of course, Apple files patents for many things that never see the light of day, so a patent’s existence alone isn’t an indication of something that will be coming from the company, only something that could.
That said, a rollable iPhone isn’t that far-fetched of an idea. LG has a rollable TV, the OLED R, already on the market. Other manufacturers including Motorola, TCL, and Samsung have also explored using rollable displays on their devices; however, none have yet to hit the market.
TCL, for instance, showed off a rollable phone concept in early 2020. That phone took a slightly different approach to the rollable design and featured a screen that would roll out from a larger tablet at the press of a button.
It has long been rumored that Apple might be exploring a foldable or flip phone design for a future iPhone model. The company filed a patent in 2017 for a phone with a display that could be folded both forward and backward, and also filed a patent last year for a foldable phone that would close if it was dropped on the ground. While initially, foldable phones were riddled with damage and usability issues, the phone design is gaining popularity. Samsung sold nearly 10 million folding phones in 2021.






















